Система НВФ для клинкерной пазогребневой плитки · MTC-v-350
Доставка по всей России
Доставка по всей России
Доставка рассчитывается индивидуально.
Уточняйте актуальные цены, скидки и акции.
Наличие и количество товара также уточняйте.
Выгодные варианты доставки по всей России.
📌 Фасадная система MTC-v-350 для клинкерной пазогребневой плитки
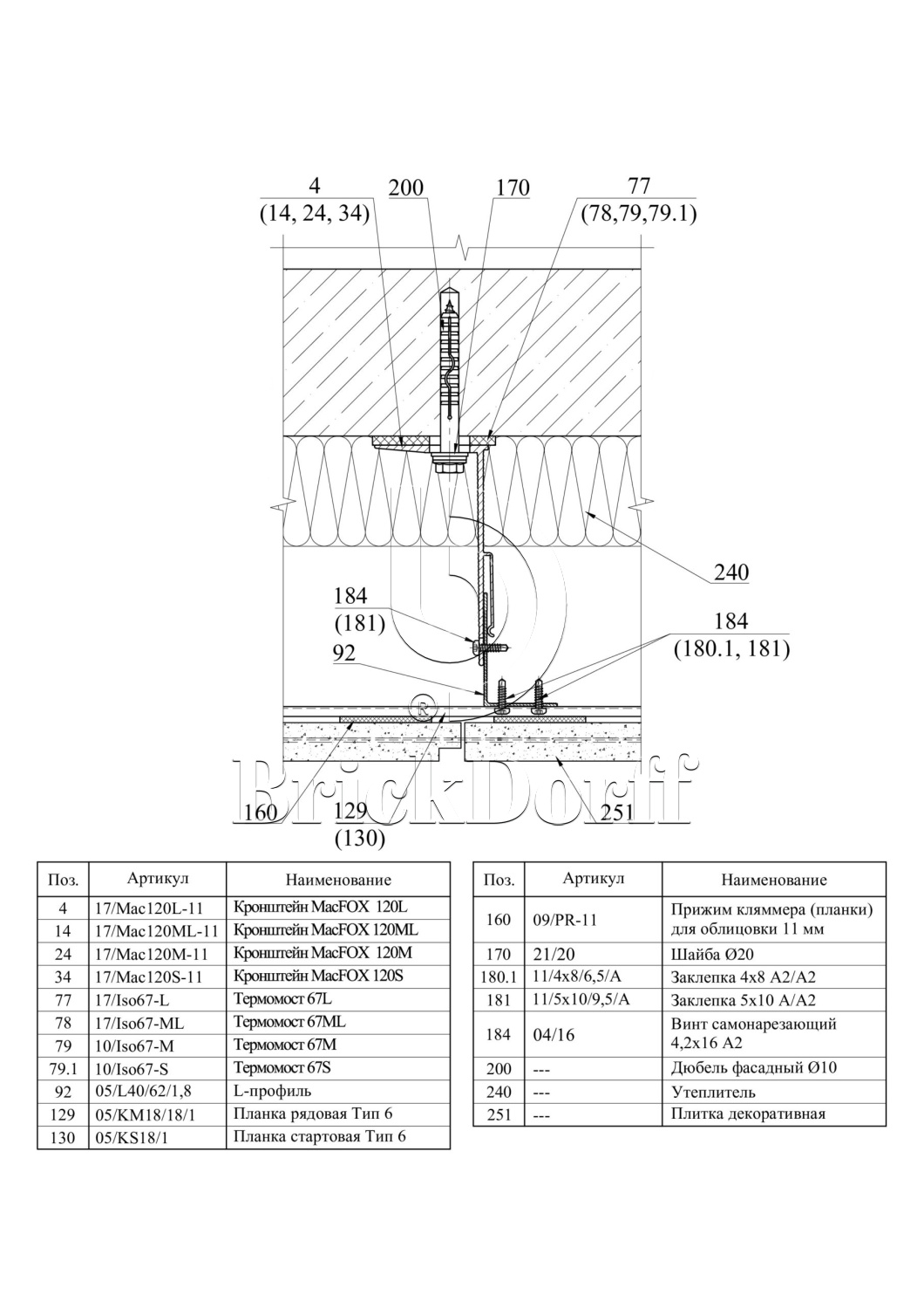
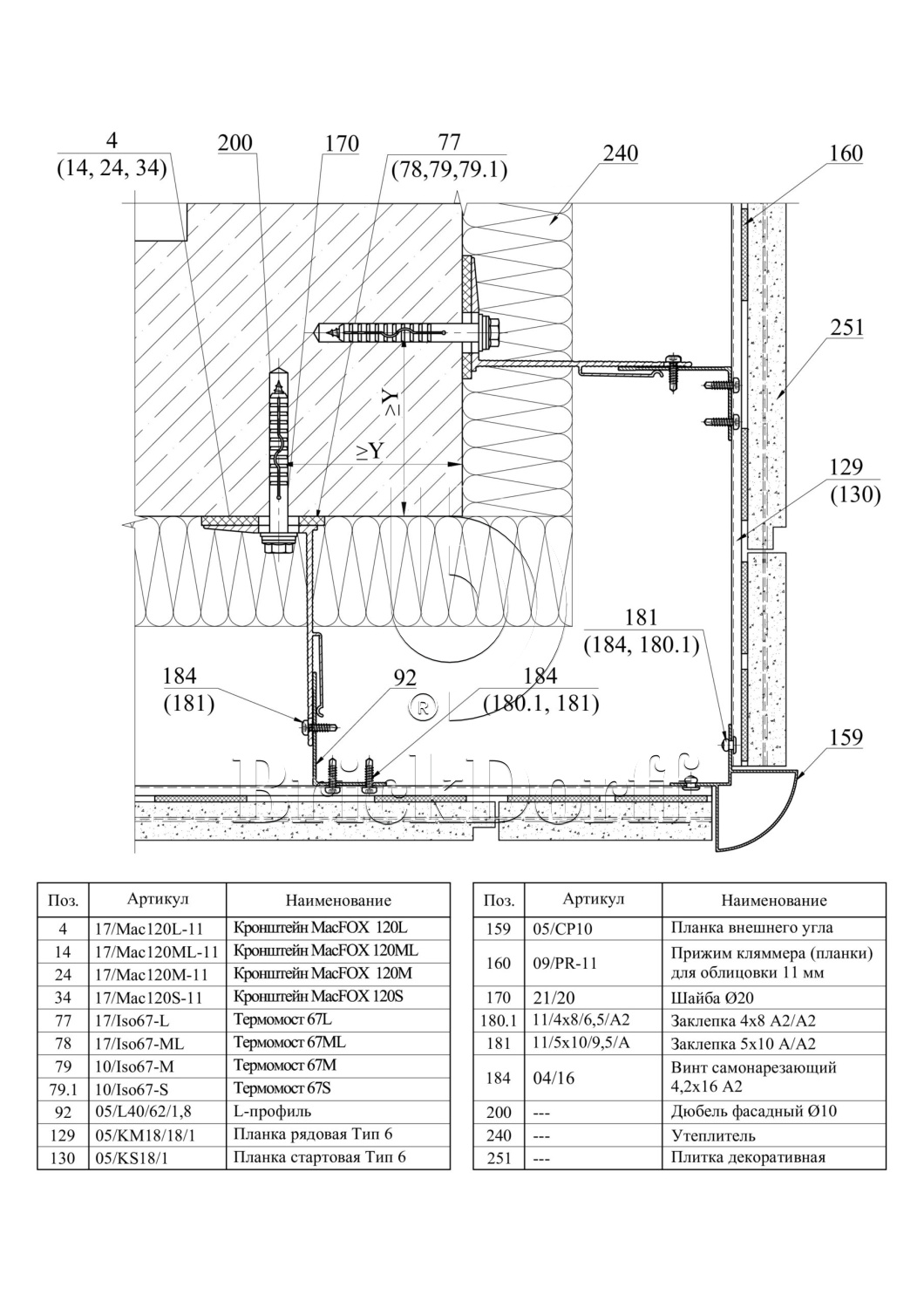
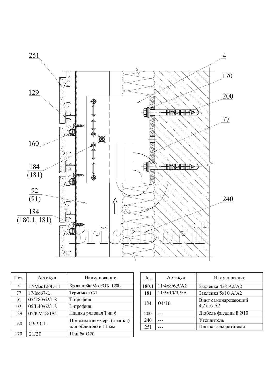
Фасадная система MTC-v-350 — профессиональное инженерное решение для устройства навесного вентилируемого фасада с облицовкой клинкерной пазогребневой плиткой под кирпич. Система предназначена для объектов, где требуется визуальный эффект классической кирпичной кладки при высокой надёжности и точной геометрии фасада.
🧱 Назначение и область применения
Система применяется для крепления:
-
фасадной клинкерной пазогребневой плитки под кирпич
Подходит для:
-
жилых и общественных зданий
-
малоэтажного и многоэтажного строительства
-
новых объектов и реконструкции фасадов
-
наружного и внутреннего применения
-
крепления к стенам и межэтажным перекрытиям
🔩 Принцип фиксации облицовки
Фиксация облицовки осуществляется скрытым способом — на монтажных планках с прижимом.
Плитка с пазогребневым профилем надёжно фиксируется за планки, после чего формируется ровная фасадная плоскость без видимых элементов крепления.
Такая схема крепления обеспечивает:
-
точное позиционирование плитки
-
равномерное распределение нагрузок
-
стабильность фасада при температурных деформациях
-
аккуратный внешний вид, максимально приближенный к кирпичной кладке
🏗 Конструкция и материалы системы
Несущие элементы системы выполнены из алюминиевых сплавов 6060 и 6063 (T6) в соответствии с ГОСТ 22233-2018, что обеспечивает высокую коррозионную стойкость и долговечность конструкции.
Система:
-
относится к классу пожарной опасности К0
-
обладает сейсмостойкостью до 9 баллов
-
рассчитана на длительную эксплуатацию без потери несущих характеристик
📐 Параметры облицовки
-
Максимально допустимый размер плитки: до 400 × 200 мм
-
Тип облицовки: клинкерная пазогребневая плитка под кирпич
-
Тип крепления облицовки: скрытый, на планках с прижимом
🎯 Преимущества системы MTC-v-350
-
✔ скрытое крепление без видимых элементов
-
✔ визуальный эффект классической кирпичной кладки
-
✔ высокая точность монтажа и повторяемость геометрии
-
✔ надёжная фиксация пазогребневой плитки
-
✔ соответствие требованиям пожарной и сейсмической безопасности
-
✔ подходит для профессионального фасадного строительства
BrickDorff рекомендует
Система MTC-v-350 — оптимальный выбор для архитектурных фасадов с клинкерной облицовкой под кирпич, где важны эстетика, инженерная надёжность и долговечность.
Вы всегда можете выбрать один из наиболее удобных вариантов оплаты:
- Безналичный расчет путем перечисления средств на расчетный счет нашей компании (После подписания спецификации вы можете оплатить счет в течении указанного в нем времени. После зачисления средств на наш расчетный счет мы подготовим товар к отгрузке в рамках оговоренных с нашим менеджером сроков);
- Безналичный расчет банковскими картами;
- Дистанционная оплата через СБП, QR с отправкой электронного чека по СМС.
Обратите внимание:
- Все оплаты производятся в Рублях по курсу ЦБ РФ на день оплаты.
- Стоимость каждого товара включает в себя все налоги и стоимость упаковки.
- Цены на многие товары указаны без учета стоимости их доставки, которую вы можете уточнить у наших менеджеров.
Доставка осуществляется во все населенные пункты России.
- Самовывозом с центральных складов: г. Москва, г. Санкт-Петербург.
- Доставка до адреса клиента нашим отделом логистики.
- Доставка транспортными компаниями и курьерскими службами.
Доставка рассчитывается индивидуально!
Наш отдел логистики подберет самый выгодный вариант доставки!
- Доставка автомобильным транспортом
- Доставка транспортными компаниями и курьерскими службами
- Доставка железнодорожным транспортом
- Доставка авиатранспортом
Условия доставки, выгрузки и требования к подъездным путям:
- Разгрузка товара на объекте осуществляется за счет и силами заказчика.
- Погрузка товара при самовывозе со склада – Бесплатно.
- Подъездные пути должны обеспечивать беспрепятственный проезд большегрузного транспорта, иметь твердое основание и необходимую ширину.
- Разгрузочная площадка должна быть подготовлена и иметь соответствующие размеры
Все подробности по срокам, условиям, стоимости уточняйте у наших менеджеров.
